全國免費熱線
0731-82042415
煤的著火溫度測定方法-長沙元德電子科技有限公司
2018-07-09 00:53:29
煤炭化驗設備|煤的著火溫度測定方法
方法提要:
將煤樣與氧化劑(亞硝酸鈉)按一定比例混合,放入著火溫度測定裝置或自動測定儀中,以一定的速度加熱,到一定溫度時,煤樣突然燃燒。 記錄測量系統內空氣體積突然膨脹或升溫速度突然增加時的溫度,作為煤的著火溫度。
試劑:
1 亞硝酸鈉(GB/T633):分析純.
2 過氧化氫(GB/T6684):質量分數為30%。
儀器設備:
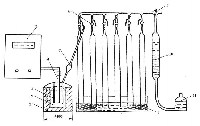
1 著火溫度人工測定裝置(見圖1).

1-水槽;2-加熱爐;3-銅加熱體,4-試樣管;5-溫度測控儀;6-測溫電偶;7-緩沖球;8-三通;9-三通;
10-量水管;11-水準瓶
圖1 著火溫度人工測定裝置
1.1 加熱爐:圓形,能加熱到600℃ 。
1.2 銅加熱體(見圖2):7孔。

圖2 銅加熱體
1.3 溫度測控儀:能在100-500℃范圍內控制升溫速度為4.5-5.0℃/min,測溫精度1℃。
1.4 試樣管(見圖3):耐熱玻璃制。
1.5 緩沖球(見圖4)。

2 著火溫度自動測定儀(見圖5):主要由加熱裝置(包括加熱爐和銅加熱體)和控制測量系統組成。
2.1 加熱爐與銅加熱體:同6.1.1和6.1.2。
2.2 控制測量系統:能在100-500℃范圍內控制升溫速度為4.5-5.0℃/min,測溫精度1℃,能自動判斷和記錄煤的著火溫度。

1-加熱爐;2-銅加熱體;3-測溫電偶;4-升降桿;5-控制測量系統
圖5 著火溫度自動測定儀
3 分析天平:感量1 mg。
4 玻璃稱量瓶:直徑約40mm,高約25mm,并帶有嚴密的磨口蓋 。
5 瑪瑙研體。
6 真空干燥箱:能自動控制溫度在50-60℃,壓力在53kPa以下。
7 鼓風干燥箱:能自動控溫在105-110℃。
8 干燥器:內裝硅膠。
煤樣和試劑處理:
1 按GB474將煤樣制成粒度小于0.2mm的一般分析煤樣。
2 煤樣處理
2.1 原樣
將煤樣置于溫度為55-60℃、壓力為 53 kPa的真空于燥箱中干燥2h,取出放入干燥器中。
2.2 氧化樣
煤樣用過氧化氫處理;在稱量瓶中放0.5-1.0g煤樣,用滴管滴入過氧化氫溶液(每克煤約加0.5mL),用玻璃棒攪勻,蓋上蓋,在暗處放置24h;打開蓋在日光或白熾燈下照射2h,然后按7.2.1干燥樣品。
3 試劑處理
將亞硝酸鈉放在稱量瓶中,在105-110℃的干燥箱中干燥1h,取出冷卻并保存在干燥器中。
試驗步驟:
1 人工測定法
1.1 稱取已干燥的原樣或氧化樣(0.1±0.01)g放入瑪瑙研缽中,加入經干燥過的亞硝酸鈉(0.075±0.001) g,輕輕研磨1-2min,使煤樣與亞硝酸納混合均勻。
1.2 接圖1所示連接裝置各部分。
1.3 把銅加熱體放入低于100℃的加熱爐內。
1.4 將混勻后的試樣小心倒入試樣管中,試樣管與緩沖球連按,然后放人銅加熱體中。插入測溫電偶。
1.5 測定裝置氣密性檢査:旋轉測定裝置儲水管上的三通,使儲水管與大氣接通,向上移動水準瓶使水充滿儲水管。然后向下移動水準瓶使水槽內的水進入量水管到一定水平,隨即扭轉量水管上的三通使量水管與緩沖球相通。如果量水管水位下降一定距離后即停止,即證明氣密良好,否則表明漏氣,須檢査原因予以糾正。
1.6 移動水準瓶,使量水管充滿水,并使水準瓶水面與儲水管水面保持水平位置。關閉量水管上的三通。
1.7 接通加熱爐電源,開始升溫,并控制升溫速度為4.5-5.0℃/min,待升溫至100℃時,每5min記錄一次溫度,到250℃時旋轉量水管上的三通,使量水管與緩沖球接通,隨時觀測量水管水位,當其突然下降時,記錄相應的溫度。
1.8 測出每個試樣的著火溫度后,切斷電源,取出測溫電偶、試樣管和銅加熱體。
2 自動測定法
2.1 接8.1.1所述稱取和混勻試樣。
2.2 將混勻后的試樣小心倒入試樣管中,將試樣管放入銅加熱體四周的圓孔中,并將銅加熱體放入測定儀的加熱爐中。
2.3 啟動電源,按照儀器說明書的操作步驟進行試驗。
2.4 試驗結束后,取出銅加熱體和試樣管。
2.5 記錄試驗結果。
