全國免費熱線
0731-82042415
煙煤羅加指數測定選長沙元德電子科技
2018-06-30 00:48:58
煙煤羅加指數測定到長沙元德電子科技有限公司
本標準規定了煙煤粘結指數的測定方法適用于測定煙煤的粘結力。
方法要點:
將1g煤樣和5g專用無煙煤經充分混合后在嚴格規定的條件下炭化將得到的焦炭在特定的轉鼓中進行轉磨試驗測定焦炭的耐磨強度以羅加指數(R.I.)表示。
1 儀器設備及用具
1.1 本方法需用下列儀器設備
a. 天平精確度不低于0.001g
b. 坩堝和坩堝蓋瓷質尺寸見圖1

圖1 坩堝和蓋
c. 攪拌絲由直徑1 1.5mm 的金屬絲制成見圖2

圖2 攪拌絲
d. 壓塊鎳鉻鋼重110 115g 見圖3 在使用中發現壓塊有剝落現象時應隨時校驗其重量.
圖3 壓塊
e. 壓力器以6 Kg 重量壓緊試驗煤樣與專用無煙煤混合物其尺寸見圖4

圖4 壓力器
1—底板2—沉頭螺釘3—圓座4—鋼管5—聯板6—堵板7—支承軸8—小軸
9—墊圈10—開口銷11—支承架12—手柄13—壓重14—升降立軸15—絲堵
f. 馬弗爐具有均勻加熱帶其恒溫區±10℃,長度不小于120mm 并附有一個能把恒溫區保持在850℃±10% 的溫度控制器。
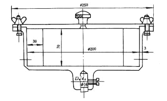
g. 轉鼓試驗裝置包括兩個轉鼓一臺變速器和一臺電動機轉鼓轉速必須保證50±2r/min轉鼓內徑為200mm 深為70mm 壁厚為3mm 壁上鉚接有兩塊相距180o的擋板,板長70mm寬30mm厚3mm轉鼓帶蓋蓋上有1mm凸起以保證轉鼓的密封性,見圖5:
h. 圓孔篩篩孔直徑為1mm

圖5 轉鼓
1.2 本方法需用下列用具
a. 坩堝架由直徑3 4mm 鎳鉻絲制成見圖6

圖6 坩堝架示意圖
b. 秒表;
c. 干燥器;
d. 帶手柄平鏟鏟長180~200mm 寬約20mm 高1.5mm 手柄長600~700mm;
e. 小鑷子;
f. 小刷子;
g. 鋁或銅箔做的稱樣器;
h. 搪瓷盤兩只長300mm 寬220mm 高約25mm。
2 煤樣
2.1 羅加指數試驗煤樣應是達到空氣干燥狀態粒度小于0.2mm 的分析煤樣其中0.1~0.2mm的煤粒占不小于20% 煤樣應裝在密封的容器中。制樣后到試驗的時間不應超過一星期,超過一星期,應在報告中注明制樣和試驗時間。
2.2 測定羅加指數所用的無煙煤,必須是寧夏汝箕溝煤礦生產的專用無煙煤,并應符合下列要求:

3 試驗步驟
3.1 先稱取5g專用無煙煤,再稱取1g試驗煤樣放入坩堝內,重量應稱準到0.001g,稱取煤樣前,應混合均勻。
3.2 攪拌的方法是:坩堝作45o左右傾斜,逆時針方向轉動,每分鐘約15轉。攪拌絲亦傾斜同樣的角度,順時針方向轉動,每分鐘約150轉。攪拌時,攪拌絲的圓環接觸坩堝壁與底相連接的圓弧部分。經1min45s后,一邊繼續攪拌,一邊將坩堝與攪拌絲逐漸轉到垂直位置,2min時,攪拌結束。在攪拌時,應防止煤樣外濺。攪拌后,將附在坩堝壁上的煤粉,用毛刷輕輕刷到坩堝的煤樣上,再用攪拌絲輕輕將混合物撥平,沿坩堝壁的層面略低1 2mm,以便壓塊將混合物壓緊后,使煤樣表面處于同一平面。
3.3 用鑷子加壓塊于坩堝中央,然后將其置于壓力器下,凈壓30S,加壓時,壓力器的壓桿要輕輕放下,以防止發生沖擊。
3.4 加壓結束后,壓塊仍留在混合物上,加上坩堝蓋,注意從攪拌時,開始帶有混合物的坩堝,應輕拿輕放避免受到撞擊與振動。
3.5 將帶蓋的坩堝放置在坩堝架中,用帶手柄的平鏟托起坩堝架,放入預先升溫到850℃的馬弗爐的恒溫區內,在放入坩堝后的6min內爐溫應恢復到850℃,若在6min內爐溫恢復不到850℃,可以適當提高入爐溫度,以后爐溫應保持在850℃±10,從放入坩堝開始計時,焦化15min 之后,將坩堝從馬弗爐中取出,放置冷卻到室溫,若不立即進行轉鼓試驗,則將坩堝放入干燥器中,馬弗爐溫度測量點,應在兩行坩堝中央。
3.6 從冷卻后的坩堝中取出壓塊,當壓塊上附有焦屑時,應刷入坩堝內,稱量焦渣總重,再將焦渣放在1mm圓孔篩早篩分,篩上部分再次稱重,然后放入轉鼓內,進行第一次轉鼓試驗,轉鼓試驗后的焦塊用1mm 圓孔篩進行篩分,再稱篩上部分重量,然后將其放入轉鼓進行第二次轉鼓試驗,重復篩分稱重操作,先后進行三次轉鼓試驗,每次轉鼓試驗5min,即250轉重量都稱準到0.01g。
3.7 當煙煤的粘結性很弱時,混合物的坩堝堝焦極其疏松,篩分應特別仔細進行,不宜搖動篩子,要將焦塊的底面,輕輕放在篩子面上,取出焦塊,再于大于1mm的焦屑一起稱重。如果混合物焦化后不成塊,就將小于1mm的顆粒篩凈,大于1mm的顆粒稱重,操作中要注意防止小塊焦屑的漏落或損失。
圖3 壓塊
e. 壓力器以6 Kg 重量壓緊試驗煤樣與專用無煙煤混合物其尺寸見圖4

圖4 壓力器
1—底板2—沉頭螺釘3—圓座4—鋼管5—聯板6—堵板7—支承軸8—小軸
9—墊圈10—開口銷11—支承架12—手柄13—壓重14—升降立軸15—絲堵
f. 馬弗爐具有均勻加熱帶其恒溫區±10℃,長度不小于120mm 并附有一個能把恒溫區保持在850℃±10% 的溫度控制器。
g. 轉鼓試驗裝置包括兩個轉鼓一臺變速器和一臺電動機轉鼓轉速必須保證50±2r/min轉鼓內徑為200mm 深為70mm 壁厚為3mm 壁上鉚接有兩塊相距180o的擋板,板長70mm寬30mm厚3mm轉鼓帶蓋蓋上有1mm凸起以保證轉鼓的密封性,見圖5:
h. 圓孔篩篩孔直徑為1mm

圖5 轉鼓
1.2 本方法需用下列用具
a. 坩堝架由直徑3 4mm 鎳鉻絲制成見圖6

圖6 坩堝架示意圖
b. 秒表;
c. 干燥器;
d. 帶手柄平鏟鏟長180~200mm 寬約20mm 高1.5mm 手柄長600~700mm;
e. 小鑷子;
f. 小刷子;
g. 鋁或銅箔做的稱樣器;
h. 搪瓷盤兩只長300mm 寬220mm 高約25mm。
2 煤樣
2.1 羅加指數試驗煤樣應是達到空氣干燥狀態粒度小于0.2mm 的分析煤樣其中0.1~0.2mm的煤粒占不小于20% 煤樣應裝在密封的容器中。制樣后到試驗的時間不應超過一星期,超過一星期,應在報告中注明制樣和試驗時間。
2.2 測定羅加指數所用的無煙煤,必須是寧夏汝箕溝煤礦生產的專用無煙煤,并應符合下列要求:

3 試驗步驟
3.1 先稱取5g專用無煙煤,再稱取1g試驗煤樣放入坩堝內,重量應稱準到0.001g,稱取煤樣前,應混合均勻。
3.2 攪拌的方法是:坩堝作45o左右傾斜,逆時針方向轉動,每分鐘約15轉。攪拌絲亦傾斜同樣的角度,順時針方向轉動,每分鐘約150轉。攪拌時,攪拌絲的圓環接觸坩堝壁與底相連接的圓弧部分。經1min45s后,一邊繼續攪拌,一邊將坩堝與攪拌絲逐漸轉到垂直位置,2min時,攪拌結束。在攪拌時,應防止煤樣外濺。攪拌后,將附在坩堝壁上的煤粉,用毛刷輕輕刷到坩堝的煤樣上,再用攪拌絲輕輕將混合物撥平,沿坩堝壁的層面略低1 2mm,以便壓塊將混合物壓緊后,使煤樣表面處于同一平面。
3.3 用鑷子加壓塊于坩堝中央,然后將其置于壓力器下,凈壓30S,加壓時,壓力器的壓桿要輕輕放下,以防止發生沖擊。
3.4 加壓結束后,壓塊仍留在混合物上,加上坩堝蓋,注意從攪拌時,開始帶有混合物的坩堝,應輕拿輕放避免受到撞擊與振動。
3.5 將帶蓋的坩堝放置在坩堝架中,用帶手柄的平鏟托起坩堝架,放入預先升溫到850℃的馬弗爐的恒溫區內,在放入坩堝后的6min內爐溫應恢復到850℃,若在6min內爐溫恢復不到850℃,可以適當提高入爐溫度,以后爐溫應保持在850℃±10,從放入坩堝開始計時,焦化15min 之后,將坩堝從馬弗爐中取出,放置冷卻到室溫,若不立即進行轉鼓試驗,則將坩堝放入干燥器中,馬弗爐溫度測量點,應在兩行坩堝中央。
3.6 從冷卻后的坩堝中取出壓塊,當壓塊上附有焦屑時,應刷入坩堝內,稱量焦渣總重,再將焦渣放在1mm圓孔篩早篩分,篩上部分再次稱重,然后放入轉鼓內,進行第一次轉鼓試驗,轉鼓試驗后的焦塊用1mm 圓孔篩進行篩分,再稱篩上部分重量,然后將其放入轉鼓進行第二次轉鼓試驗,重復篩分稱重操作,先后進行三次轉鼓試驗,每次轉鼓試驗5min,即250轉重量都稱準到0.01g。
3.7 當煙煤的粘結性很弱時,混合物的坩堝堝焦極其疏松,篩分應特別仔細進行,不宜搖動篩子,要將焦塊的底面,輕輕放在篩子面上,取出焦塊,再于大于1mm的焦屑一起稱重。如果混合物焦化后不成塊,就將小于1mm的顆粒篩凈,大于1mm的顆粒稱重,操作中要注意防止小塊焦屑的漏落或損失。
