全國免費熱線
0731-82042415
煤質分析儀器粘結指數測定首選長沙元德電子科技有限公司
2018-06-29 06:17:53
煤質分析儀器煙灰某粘結指數測定方法GB/T 5447-1997
方法要點:
將一定重量的試驗煤樣和專用無煙煤,在規定的條件下混合,快速加熱成焦,所得焦塊在一定規格的轉鼓內進行強度檢驗,以焦塊的耐磨強度,即對破壞抗力的大小表示試驗煤樣的粘結能力。
專用無煙煤
測定粘結指數專用無煙煤(簡稱專用無煙煤),符合GB/T 14181規定要求
儀器設備
1本方法需用下列儀器設備:
1.1分析天平:感量1mg。
1.2馬弗爐:具有均勻加熱帶,其恒溫區(850±10)℃,長度不小于120mm,并附有調壓器或定溫控制器。
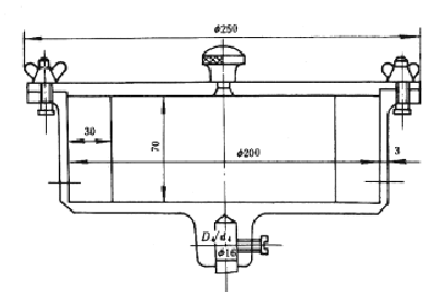
1.3轉鼓試驗裝置:包括兩個轉鼓、一臺變速器和一臺電動機,轉鼓轉速必須保證(50±2)r/min。轉鼓內經200mm、深70mm,壁上鉚有兩塊相距180°、厚為3mm的擋板(圖1)。

圖1轉鼓
1.4壓力器:以6kg質量壓緊試驗煤樣與專用無煙煤混合物的儀器(圖2)

圖2壓力器
1——底板;2——沉頭螺釘;3——圓座;4——鋼管;5——聯板;6——堵板;7——支承軸;8——小軸;9——墊圈;10——開口銷;11——支撐架;12——手柄;13——壓重;14——升降立軸;15——絲堵
2 用具:
2.1坩堝和坩堝蓋:瓷質(圖3)

圖3坩堝和蓋
2.2攪拌絲:由直徑1mm~1.5mm的硬質金屬絲制成(圖4)

圖4攪拌絲
2.3壓塊:鎳鉻鋼制成,質量為110g~115g(圖5)。

圖5壓塊
2.4圓孔篩:篩孔直徑1mm。
2.5坩堝架:由直徑3mm~4mm鎳鉻絲制成(圖6)。

圖6 坩堝架示意圖
2.6秒表。
2.7干燥器。
2.8鑷子。
2.9刷子。
2.10帶手柄平鏟或夾子:送取盛樣坩堝架出入馬弗爐用。手柄長600mm~700mm,平鏟外形尺寸(長×寬×厚)約為200mm×20mm×1.5mm.
6 煤樣
6.1 試驗煤樣按GB 474制備成粒度小于0.2mm的空氣干燥煤樣,其中0.1mm~0.2mm的煤粒占全部煤樣的20%~35%。煤樣粉碎后并在試驗前應混合均勻。
6.2 試驗煤樣應裝在密封的容器中,制樣后到試驗時間不應超過一星期。如超過一星期,應在報告中注明制樣和試驗時間。
7 試驗步驟
7.1 先稱取5g專用無煙煤,再稱取1g試驗煤樣放入坩堝(5.2.1),質量應稱準到0.001g。
7.2 用攪拌絲(5.2.2)將坩堝內的混合物攪拌2min。攪拌方法是:坩堝作45°左右傾斜,逆時針方向轉動,每分鐘約15轉,攪拌絲按同樣傾角作順時針方向轉動,每分鐘約150轉,攪拌時,攪拌絲的圓環接觸坩堝壁與底相連接的圓弧部分。約經1min45s,一邊繼續攪拌,一邊將坩堝與攪拌絲逐漸轉到垂直位置,約2min時,攪拌結束,亦可用達到同樣攪拌效果的機械裝置進行攪拌。在攪拌時,應防止煤樣外濺。
7.3 攪拌后,將坩堝壁上煤粉用刷子(5.2.9)輕輕掃下,用攪拌絲將混合物小心地撥平,并使沿坩堝壁的層面略低1mm~2mm,以便壓塊(5.2.3)將混合物壓緊后,使煤樣表面處于同一平面。
7.4用鑷子(5.2.8)夾壓塊(5.2.3)于坩堝中央。然后將其置于壓力器(5.1.4)下,將壓桿輕輕放下,靜壓30s。
7.5 加壓結束后,壓塊仍留在混合物上,加上坩堝蓋。注意從攪拌時開始,帶有混合物的坩堝,應輕拿輕放,避免受到撞擊與振動。
7.6 將帶蓋的坩堝放置在坩堝架(5.2.5)中,用帶手柄的平鏟或夾子(5.2.10)托起坩堝架,放入預先升溫到850℃的馬弗爐(5.1.2)內的恒溫區。要求6min內,爐溫應恢復到850℃,以后爐溫應保持在(850±10)℃。從放入坩堝開始計時,焦化15min,之后,將坩堝從馬弗爐中取出,放置冷卻到室溫。若不立即進行轉鼓試驗,則將坩堝放入干燥器(5.2.7
)中。馬弗爐溫度測量點,應在兩行坩堝中央。爐溫應定期校正。
7.7從冷卻后的坩堝中取出壓塊。當壓塊上附有焦屑時,應刷入坩堝內。稱量焦渣總質量,然后將其放入轉鼓內,進行第一次轉鼓(5.1.3)試驗,轉鼓試驗后的焦塊用1mm圓孔篩(5.2.4)進行篩分,再稱量篩上物質量,然后,將其放入轉鼓進行第二次轉鼓試驗,重復篩分、稱量操作。每次轉鼓試驗5min即250轉。質量均稱準到0.01g。
