全國免費熱線
0731-82042415
煤質分析儀器GB 4632-1997煤的最高內在水發測定
2018-06-28 06:10:02
煤質分析儀器煤的最高內在水分測定方法提要
煤樣達到飽和吸水后,用恒濕紙除去大部分外在水分,在溫度30ºC、相對濕度96%和常壓下達到溫度平衡,然后在105~110ºC下干燥,以其質量損失百分數表示最高內在水分。
試劑
1 硫酸鉀結晶及其飽和溶液:以10g化學純的硫酸鉀(HG 3-920)與3ml水的比例混合。
2 氮氣:純度99.9%,氧含量小于100µL/L。
3 干燥劑:無水硅膠或其他干燥劑。
儀器設備
1 充氮常壓法最高內在水分測定儀(簡稱調濕器,圖1):要求溫度能保持在(30+0.1)ºC,并能連續運轉3晝夜以上。


2 振蕩器:頻率240/min,振幅40mm
3 充氮干燥箱
以下兩種任選一種
3.1 小空間干燥箱:箱體嚴密,具有較小的自由空間,有氮氣進口、出口,并帶有自動控溫裝置,能保持溫度150~110ºC范圍內。
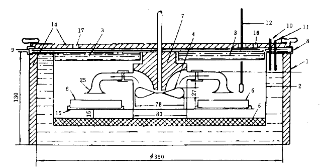
3.2 普通干燥箱(見圖2):能擦經歷過的105~110ºC,恒溫區內安裝一金屬金,尺寸為200mm*100mm*60mm。盒內有一能容納6個稱量瓶的托盤。盒的一端沒有氮氣入口,用一根硅膠管與氮氣鋼瓶相連,入口處用數層銅網遮住,以便分散氣體;另一端設有小門,以便使托盤自由出入并可作為氮氣出口。

4 天平:感量0.1mg
5 水浴:能保持溫度(30+1)ºC
6 真空泵:抽氣量1L/s
7 吸濾瓶:3L
8 布氏漏斗:直徑100mm
9 錐形瓶:250ml
10 標準篩:孔徑為0.60mm及0.45mm的篩子各一個
11 恒濕紙:將定性濾紙切成約10mm*10mm,使用時往紙上噴些水,使其含水量約為13%-15%。
12 潮濕箱:體積約250mm*250mm*150mm的帶蓋木箱,箱內四周襯兩層草板紙或定性濾紙。使用時用水浸濕,箱底鋪三層潮濕的道林紙。
13 稱量瓶:直徑約50mm,高約30mm,并帶有嚴密的磨口蓋。
