全國免費熱線
0731-82042415
煤炭化驗設備煤中氯的測定
2018-06-28 00:48:20
煤炭化驗設備GB/T 3558-1996煤中氯的測定方法
方法A:高溫燃燒水解-電位滴定法
煤樣在氧氣和水蒸氣混合氣流中燃燒和水解,煤中氯全部轉化為氯化物并定量地溶于水中。以銀為指示電極,銀-氯化銀為參比電極,用標準硝酸銀電位法直接滴定冷凝液中的氯離子濃度,根據標準硝酸銀溶液是量計算煤中氯的含量。
試劑和材料
1 石英砂:粒度0.5~1.0mm
2 硫酸溶液:濃度(1+5)(V+V)。將20ml優級純濃硫酸(GB 625)倒入100ml蒸餾水中,混勻。
3 氫氧化鈉溶液:10g/L
4 瓊脂粉:化學純。
5 硝酸鉀飽和溶液:將足夠量優級純硝酸鉀(GB/T 647)深于適量水中,繼續加入硝酸鉀直至不再溶解。
6 乙醇(GB/T 678):分析純
7 溴甲酚綠指示劑:10g/L乙醇溶液
8 標準氯化鈉溶液:氯離子濃度(0.20mg/ml)
準確稱取預先在500~600ºC灼燒1h后的優級純氯化鈉(GB/T 1266)0.659 6g溶于少量水中,再轉入2000ml容量瓶中,稀釋到刻度,搖勻。
9 標準硝酸銀溶液:c(AgNO3)=0.0125moi/L
準確稱取預先在110ºC烘烤1h后的優級純硝酸銀(GB/T 670)2.123 6g,溶于少量水中,再轉入1000ml棕色容量瓶中,稀釋到刻度,搖勻。
10 瓷舟:長77mm,高和寬10mm,耐溫1100ºC以上。
儀器設備
1 高溫燃燒水解裝置(見圖1)

圖1 高溫燃燒水解裝置
1.1 高溫爐:能加熱到1100ºC以上,有80~100mm長的恒溫帶(1 100+10ºC)。配有自動溫度控制器。
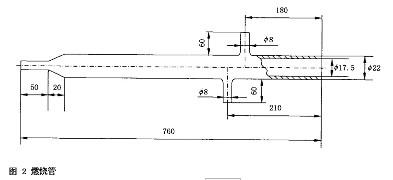
1.2 燃燒管:透明石英管,能耐溫1300ºC以上,規格尺寸見圖2

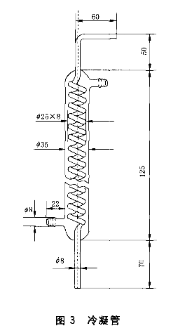
1.3 冷凝管:蛇形,規格尺寸見圖3

1.4 水蒸汽發生器:由500ml平底燒瓶和可調壓圓盤電爐(0.5KW,0~220V連續可調)構成。
1.5 流量計:滿刻度1000ml/min,最小分度10ml/min
2 電位滴定裝置,見圖4

2.1 毫伏計:數字式,精度0.1mV
2.2 磁力攪拌器:轉速連續可調
2.3 滴定管:10ml,A級
2.4 鹽橋:加熱溶解10g硝酸鉀1.5g瓊脂粉于50ml蒸餾水中,稍冷后流入U形玻璃管內。
2.5 指示電極:直徑3mm的純銀絲。
2.6 參比電極:由直徑3mm的純銀絲插在含有氯離子(CI¯)和氯化銀沉淀的水溶液中,容器要求有避光性能或措施。
3 分析天平:感量0.1mg。
