全國免費熱線
0731-82042415
煤炭化驗設備|煤的可磨性指數測定方法
2018-06-26 07:27:19
煤炭化驗設備煤的可磨性指數測定方法
方法提要
將一定粒度范圍和質量的煤樣,經哈氏可磨性測定儀研磨后在規定的條件下篩分,稱量篩上煤樣的質量。由研磨前的煤樣量減去篩上煤樣質量得到篩下煤樣的質量。再從由標準煤樣繪制的校準圖上查得哈氏可磨性指數。
儀器設備
1 哈氏可磨性測定儀(簡稱哈氏儀):如圖1所示。電動機通過蝸輪、蝸桿和一對齒輪減速后,帶動主軸和研磨環以(20+1)r/min的速度運轉。研磨環驅動研磨碗內的8個鋼球轉動,鋼球直徑為25.4mm,由重塊、齒輪、主軸和研磨環施加在鋼球上的總垂直力為(284+2)N。

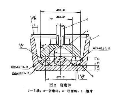
研磨碗與研磨環材質不同,并經過淬火處理,幾何形狀和尺寸如圖2所示。

哈氏儀在用于可磨性指數測定之前,應用標準煤樣進行校準。
2 試驗篩(GB/T 6003):孔徑為0.071mm、0.63mm、1.25mm,直徑為200mm,并配有篩蓋和篩底盤。
3 保護篩:能套在試驗篩上的圓孔篩或方孔篩,孔徑范圍13~19mm。
4 振篩機:可以容納外徑為200mm的一組垂直套疊并加蓋和篩底盤的篩子。垂直振擊頻率為149min,水平回轉頻率為221mm,回轉半徑為12.5mm。
5 天平:最大稱量100g,感量0.01g。
6 托盤天平:最大稱量1000g,感量1g。
7 二分器:符合GB 474的規定,分樣格槽寬度為5mm。
8 破碎機:輥式破碎機,輥的間距可調,能將粒度6mm的煤樣破碎到1.25mm,而只生成最小量的、小于0.63mm的煤粉。
